• •
收稿日期:2025-10-09
修回日期:2025-12-02
出版日期:2025-12-22
通讯作者:
徐强
作者简介:刘灏(2002—),男,硕士研究生,1457320560@stu.xjtu.edu.cn
基金资助:
Hao LIU(
), Jinfeng WU, Lulu LI, Qiang XU(
)
Received:2025-10-09
Revised:2025-12-02
Online:2025-12-22
Contact:
Qiang XU
摘要:
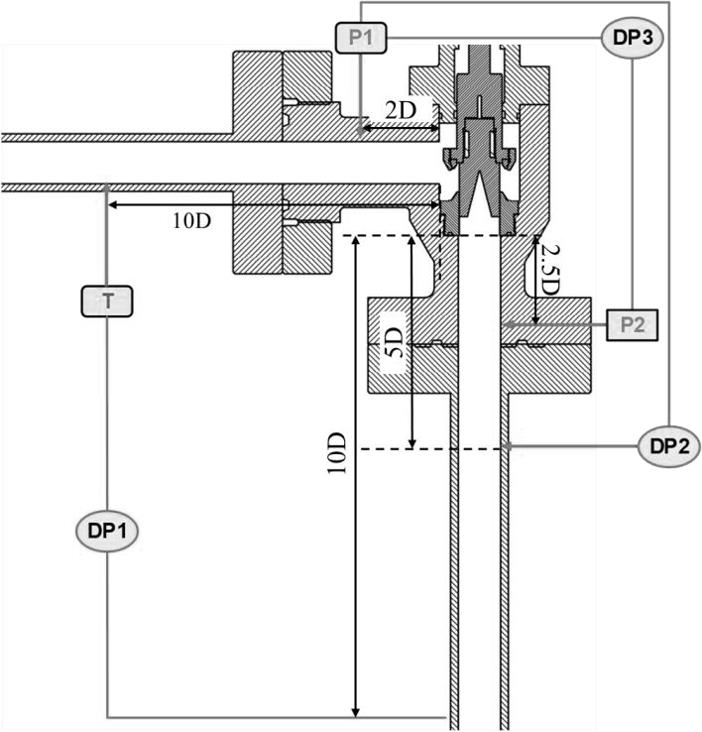
相比传统的差压式流量计,基于调节阀的流量测量方法,无需额外节流装置且量程比更大。通过实验,研究了调节阀不同开度下气液两相的流量-压差关系,建立了流量与压差、开度的测量模型。该模型结果显示,流量系数与阀门开度呈良好线性,且气体的可压缩性不影响其流量系数标定。在29%-66%的阀门开度范围和10-180 kPa的压降范围内,90%以上的液相和气相质量流量数据点相对误差小于±3%。不同开度下,气、液流量系数比值都接近1.10,利用液相流量系数乘以1.10并代入公式计算,所得气相质量流量92.9%的数据点相对误差小于±5%,可在工程中使用。在已进行的实验工况范围内,调节阀测水和空气流量在误差±5%以内的量程比分别能达到1:23和1:14。
中图分类号:
刘灏, 吴金凤, 李露露, 徐强. 基于变面积调节阀的差压式流量测量方法[J]. 化工学报, DOI: 10.11949/0438-1157.20251097.
Hao LIU, Jinfeng WU, Lulu LI, Qiang XU. Differential pressure flow measurement method based on variable area regulating valve[J]. CIESC Journal, DOI: 10.11949/0438-1157.20251097.
| K | |||
|---|---|---|---|
| 0.29 | -9.5% | -8.8% | -10.1% |
| 0.34 | 2.5% | 1.9% | 2.5% |
| 0.41 | 3.6% | 3.2% | 3.5% |
| 0.48 | 2.2% | 2.2% | 2.4% |
| 0.54 | -1.3% | -1.2% | -1.0% |
| 0.6 | -0.4% | 0.1% | 0.0% |
| 0.66 | -0.3% | -0.7% | -0.8% |
表1 各开度下的相对误差表
Table 1 Relative errors at different openings
| K | |||
|---|---|---|---|
| 0.29 | -9.5% | -8.8% | -10.1% |
| 0.34 | 2.5% | 1.9% | 2.5% |
| 0.41 | 3.6% | 3.2% | 3.5% |
| 0.48 | 2.2% | 2.2% | 2.4% |
| 0.54 | -1.3% | -1.2% | -1.0% |
| 0.6 | -0.4% | 0.1% | 0.0% |
| 0.66 | -0.3% | -0.7% | -0.8% |
| [1] | 时长娥,吴峻,朱欣华. 智能差压式流量计二次仪表设计[J]. 电子器件, 2008, 31(2): 615-618. |
| Shi Chang'e, Wu J, Zhu X. Design of intelligent differential flow meter integrator [J]. Chinese Journal of Electron Devices, 2008, 31(2): 615-618. | |
| [2] | He D H, Bai B F. Gas-liquid two phase flow with high GVF through a horizontal V-Cone throttle device[J]. International Journal of Multiphase Flow, 2017, 91: 51-62. |
| [3] | Nasiruddin S, Singh S N, Veeravalli S V, et al. Effect of vertex angle and vertex tip radius on the performance of V-cone flow meter using CFD[J]. Measurement, 2019, 138: 536-544. |
| [4] | Campos S R V, Baliño J L, Slobodcicov I, et al. Orifice plate meter field performance: Formulation and validation in multiphase flow conditions[J]. Experimental Thermal and Fluid Science, 2014, 58: 93-104. |
| [5] | Bai B F, Zheng X B. Comparison of the two-phase mass flow coefficient and the over-reading for wet gas flow metering with DP meters[J]. Experimental Thermal and Fluid Science, 2018, 90: 14-21. |
| [6] | Steven R. A dimensional analysis of two phase flow through a horizontally installed Venturi flow meter[J]. Flow Measurement and Instrumentation, 2008, 19(6): 342-349. |
| [7] | Xu Y, Zhang Q, Zhang T, et al. An overreading model for nonstandard Venturi meters based on H correction factor[J]. Measurement, 2015, 61: 100-106. |
| [8] | 张翼辰, 张文彪, 李浩洋, 等. 基于双差压模型的文丘里管气液两相CO2流量测量[J]. 化工学报, 2025, 76(4): 1493-1503. |
| Zhang Y C, Zhang W B, Li H Y, et al. Flow measurement of gas-liquid two-phase CO2 using Venturi tube based on dual differential pressure model [J]. CIESC Journal, 2025, 76(4): 1493-1503. | |
| [9] | 杨小军, 陈保东, 王剑桥, 等. 差压流量计的发展和展望[J]. 工业计量, 2010, 20(3): 27-28, 31. |
| Yang X J, Chen B D, Wang J Q, et al. Development and prospect of differential pressure flowmeters[J]. Industrial Measurement, 2010, 20(3): 27-28, 31. | |
| [10] | Guillaume D W, DeVries D. A strain gage-variable area flowmeter[J]. Review of scientific instruments, 1990, 61(5): 1522-1524. |
| [11] | Singh S N, Gandhi B K, Seshadri V, et al. Design of a bluff body for development of variable area orifice-meter[J]. Flow measurement and Instrumentation, 2004, 15(2): 97-103. |
| [12] | 戴建刚, 沈创谦, 纪波峰,等. 宽量程比差压流量计的研究[J]. 石油化工自动化, 2023, 59 (05): 96-100. |
| Dai J G, Shen C Q, Ji B F, et al. Research on differential pressure flowmeter with wide range ratio[J]. Automation in Petro-Chemical Industry, 2023, 59(5): 96-100. | |
| [13] | 纪波峰, 纪纲. 新型差压流量计的结构与性能研究[J]. 自动化仪表, 2019, 40(4): 77-81. |
| Ji B F, Ji G. Study on the structure and performance of new differential pressure flowmeters[J]. Process Automation Instrumentation, 2019, 40(4): 77-81. | |
| [14] | 陈勇, 马璐文, 陈新亮,等. 双量程孔板流量计不确定度及量程比[J]. 石油化工自动化, 2013(5): 52-56. |
| Chen Y, Ma L W, Chen X L, et al. Uncertainty and range ratio of dual-range orifice flowmeters[J]. Automation in Petro-Chemical Industry, 2013(5): 52-56.. | |
| [15] | Sondh H S, Singh S N, Seshadri V, et al. Design and development of variable area orifice meter[J]. Flow Measurement and Instrumentation, 2002, 13(3): 69-73. |
| [16] | Funaki T, Kawashima K, Fujita T, et al. Characteristic analysis of variable orifice flow meter[J]. Proceedings of the JFPS International Symposium on Fluid Power, 2002, 2002(): 83-88. |
| [17] | 宁新宇. 浮子流量计的设计与应用[J]. 南方金属, 2019(2): 47-50. |
| Ning X Y. The design and application of float flow-meter [J]. Southern Metals, 2019(2): 47-50. | |
| [18] | 周艳, 徐旷宇, 朱宁, 等. 变面积孔板流量计活动锥体设计与研究[J]. 计量学报, 2025, 46(2): 184-189. |
| Zhou Y, Xu K Y, Zhu N, et al. Design and study of movable cone for variable area orifice flowmeter[J]. Acta Metrologica Sinica, 2025, 46(2): 184-189. | |
| [19] | 章海远,须清华. 高水头船闸输水阀门面积对其他水力参数的影响[J]. 水运工程, 1993(7): 26-32. |
| Zhang H Y, Xu Q H. Influences of the area of filling & emptying valve for high-water-head shiplock to other hydraulic parameters[J]. Port & Waterway Engineering, 1993(7): 26-32. | |
| [20] | Aumanand M A, Konnur M S. A novel method of using a control valve for measurement and control of flow[J]. IEEE Transactions on Instrumentation and Measurement, 1999, 48(6): 1224-1226. |
| [21] | Choi J. Flow control system design without flow meter sensor[J]. Sensors and Actuators A: Physical, 2012, 185: 127-131. |
| [22] | Wei D P, Zhao H X. Research on flow characteristics of throttle valve based on fluent[J]. Journal of Physics: Conference Series, 2020, 1676(1): 012021. |
| [23] | Valdés J R, Rodríguez J M, Saumell J, et al. A methodology for the parametric modelling of the flow coefficients and flow rate in hydraulic valves[J]. Energy Conversion and Management, 2014, 88:598-611. |
| [24] | 陶晓磊. 基于调节阀的流量测量方法研究[D]. 杭州: 中国计量学院, 2014. |
| Tao X L. Study on flow measurement method with control valve[D]. Hangzhou: China University of Metrology, 2014. | |
| [25] | Mu Y P, Liu M S, Ma Z X. Research on the measuring characteristics of a new design butterfly valve flowmeter[J]. Flow Measurement and Instrumentation, 2019, 70:101651. |
| [26] | 韩家桢. 调节阀动态流量自感知与不稳定流体负载补偿研究[D]. 济南: 山东大学, 2023. |
| Han J Z. Research on dynamic flow rate self-sensing and unstable fluid load compensation of control valve[D]. Jinan: Shandong University, 2023. | |
| [27] | Song L, Wang G, Brambley M R. Uncertainty analysis for a virtual flow meter using an air-handling unit chilled water valve[J]. HVAC&R Research, 2013, 19(3): 335-345. |
| [28] | Zhang J H, Wang D, Xu B, et al. Flow control of a proportional directional valve without the flow meter[J]. Flow Measurement and Instrumentation, 2019, 67: 131-141. |
| [29] | 张效伟, 朱惠人, 张霞, 等. 小尺度孔的流量系数试验[J]. 航空动力学报, 2010, 25(11): 2479-2485. |
| Zhang X W, Zhu H R, Zhang X, et al. Experiment of discharge coefficients for small scale cylindrical holes[J]. Journal of Aerospace Power, 2010, 25(11): 2479-2485. | |
| [30] | 崔萌. 测量调节阀开度对应工作气体流量的方法[J]. 科技视界, 2021(15): 90-92. |
| Cui M. Method for measuring the flow rate of working gas corresponding to the opening degree of control valve [J]. Science & Technology Vision, 2021(15): 90-92. | |
| [31] | 慕缘鹏. 基于阀门力学特性的变风量空调系统风量监测及预测控制方法[D]. 大连理工大学,2021. |
| Mu Y P. Air flowrate monitoring and predictive control method of VAV system based on damper mechanical characteristics[D]. Dalian: Dalian University of Technology, 2021. | |
| [32] | Wu D Q, Burton R, Schoenau G. An empirical discharge coefficient model for orifice flow[J]. International Journal of Fluid Power, 2002, 3(3): 13-19. |
| [33] | Wu D Q, Burton R, Schoenau G, et al. Modelling of orifice flow rate at very small openings[J]. International Journal of Fluid Power, 2003, 4(1): 31-39. |
| [34] | Chern M J, Wang C C, Ma C H. Performance test and flow visualization of ball valve[J]. Experimental Thermal and Fluid Science, 2007, 31(6): 505-512. |
| [35] | Jablonská J, Kozubková M. Evaluation of the characteristics of the control valves[J]. MATEC Web of Conferences, 2020, 328: 03011. |
| [36] | 黄云龙,许剑,刘通,等. 气藏水平井温度分布特征及流量测试实验研究[J]. 化工学报, 2025, 76(2): 612-622. |
| Huang Y L, Xu J, Liu T, et al. Experimental study on temperature distribution characteristics and flow measurement of horizontal wells in gas reservoir[J]. CIESC Journal, 2025, 76(2): 612-622. |
| [1] | 王佳星, 赵家睿, 李斯特, 付媛, 刘凤杰, 韦昌. 不同放汽阀流量特性对弹射过程的影响规律[J]. 化工学报, 2021, 72(S1): 318-325. |
| [2] | 彭德其, 史冰乐, 俞天兰, 俞天翔, 刘阳平, 叶磊. 振动往复螺旋清洗机构及其防垢性能[J]. 化工学报, 2013, 64(9): 3168-3174. |
| [3] | 陈亮;陈江平;陈芝久. 电子膨胀阀壅塞特性与冷凝压力的关系 [J]. CIESC Journal, 2009, 60(4): 820-825. |
| 阅读次数 | ||||||
|
全文 |
|
|||||
|
摘要 |
|
|||||
京公网安备 11010102001995号