CIESC Journal ›› 2025, Vol. 76 ›› Issue (S1): 43-53.DOI: 10.11949/0438-1157.20241362
• Thermodynamics • Previous Articles Next Articles
Yuqing YANG(
), Yinlong LI, Gang YAN(
)
Received:2024-11-27
Revised:2024-12-02
Online:2025-06-26
Published:2025-06-25
Contact:
Gang YAN
通讯作者:
晏刚
作者简介:杨语晴(2001—),女,硕士研究生,yang18710827271@163.com
基金资助:CLC Number:
Yuqing YANG, Yinlong LI, Gang YAN. Thermodynamic analysis of auto-cascade high-temperature heat pump cycle using low GWP refrigerant[J]. CIESC Journal, 2025, 76(S1): 43-53.
杨语晴, 李银龙, 晏刚. 采用低GWP制冷剂的级联加热自复叠高温热泵循环热力学分析[J]. 化工学报, 2025, 76(S1): 43-53.
Add to citation manager EndNote|Ris|BibTeX
| 部件 | 质量守恒方程 | 能量守恒方程 |
|---|---|---|
| 压缩机 | ||
| 冷凝器 | ||
| 蒸发器 | ||
| 相分离器 | ||
| 膨胀阀1 | ||
| 膨胀阀2 | ||
复叠 换热器 |
Table 1 The mass and energy conservation equations for components in the MAHPC
| 部件 | 质量守恒方程 | 能量守恒方程 |
|---|---|---|
| 压缩机 | ||
| 冷凝器 | ||
| 蒸发器 | ||
| 相分离器 | ||
| 膨胀阀1 | ||
| 膨胀阀2 | ||
复叠 换热器 |
| 部件 | 㶲损失 |
|---|---|
| 压缩机 | |
| 冷凝器 | |
| 蒸发器 | |
| 相分离器 | |
| EV1 | |
| EV2 | |
| 复叠换热器 |
Table 2 Exergy destruction of all components in the MAHPC
| 部件 | 㶲损失 |
|---|---|
| 压缩机 | |
| 冷凝器 | |
| 蒸发器 | |
| 相分离器 | |
| EV1 | |
| EV2 | |
| 复叠换热器 |
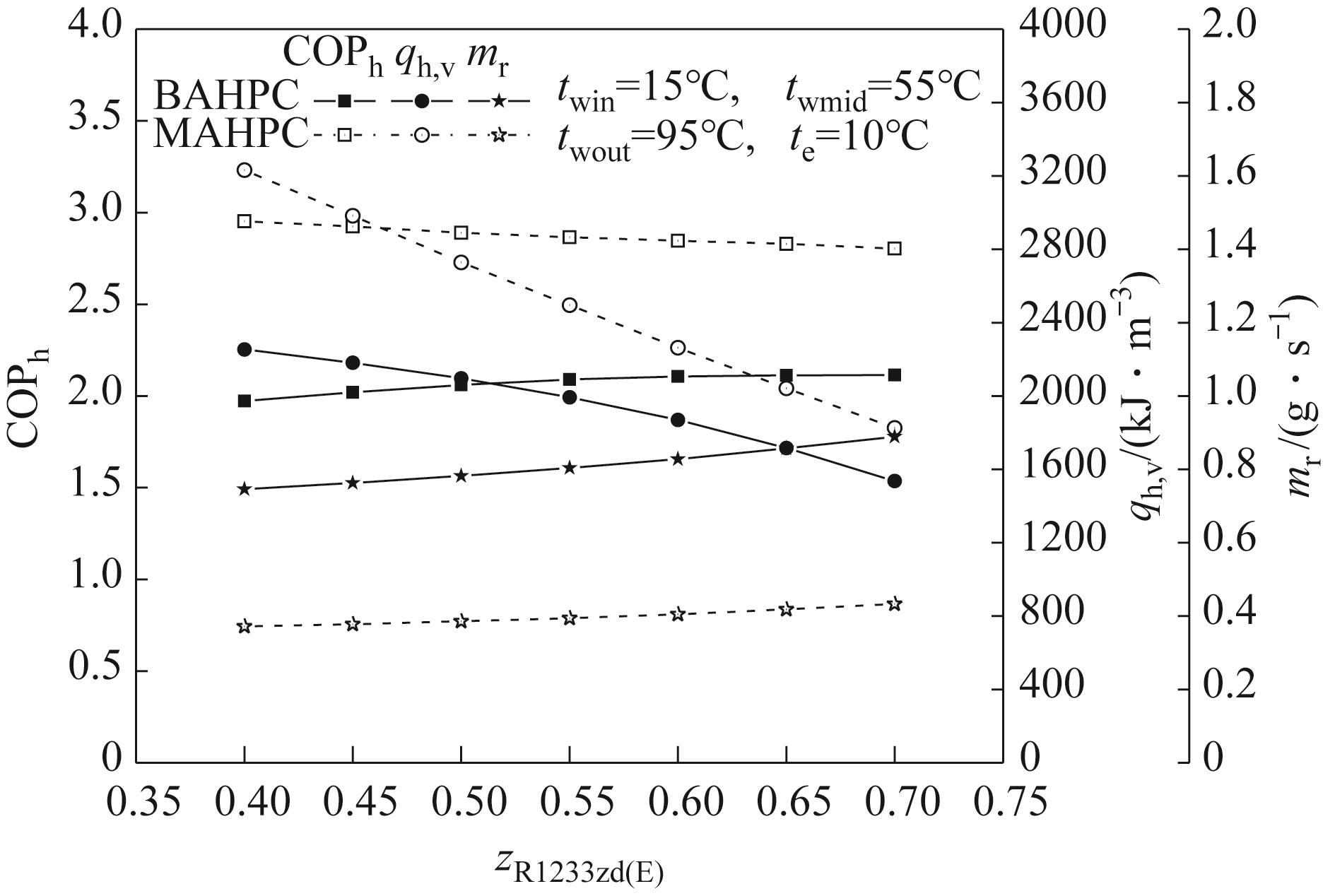
| 参数 | 数值 |
|---|---|
| 蒸发温度te/℃ | 10 |
| 冷凝温度tc /℃ | 90 |
| 冷水入口温度twin/℃ | 15 |
| 冷水中间温度twmid/℃ | 55 |
| 冷水出口温度twout/℃ | 95 |
| 制冷剂1组分z1 | 0.5 |
| 冷凝器出口质量干度q3 | 0.5 |
| 蒸发器出口干度q7 | 1 |
| 热负荷Qh/W | 100 |
Table 3 Input parameters for the simulation
| 参数 | 数值 |
|---|---|
| 蒸发温度te/℃ | 10 |
| 冷凝温度tc /℃ | 90 |
| 冷水入口温度twin/℃ | 15 |
| 冷水中间温度twmid/℃ | 55 |
| 冷水出口温度twout/℃ | 95 |
| 制冷剂1组分z1 | 0.5 |
| 冷凝器出口质量干度q3 | 0.5 |
| 蒸发器出口干度q7 | 1 |
| 热负荷Qh/W | 100 |
| tam/℃ | COPh(本文) | COPh[ | Relative error/% | COPh[ | Relative error/% |
|---|---|---|---|---|---|
| -18 | 1.28 | 1.29 | 0.78 | 1.30 | 1.54 |
| -13 | 1.43 | 1.46 | 2.05 | 1.47 | 2.72 |
| -8 | 1.61 | 1.62 | 0.62 | 1.64 | 1.83 |
| -3 | 1.82 | 1.80 | 1.11 | 1.81 | 0.55 |
| 2 | 1.95 | 1.98 | 1.52 | 2.00 | 2.50 |
| 7 | 2.17 | 2.18 | 0.46 | 2.19 | 0.91 |
Table 4 Validation of the calculation results with two studies[15,18]
| tam/℃ | COPh(本文) | COPh[ | Relative error/% | COPh[ | Relative error/% |
|---|---|---|---|---|---|
| -18 | 1.28 | 1.29 | 0.78 | 1.30 | 1.54 |
| -13 | 1.43 | 1.46 | 2.05 | 1.47 | 2.72 |
| -8 | 1.61 | 1.62 | 0.62 | 1.64 | 1.83 |
| -3 | 1.82 | 1.80 | 1.11 | 1.81 | 0.55 |
| 2 | 1.95 | 1.98 | 1.52 | 2.00 | 2.50 |
| 7 | 2.17 | 2.18 | 0.46 | 2.19 | 0.91 |
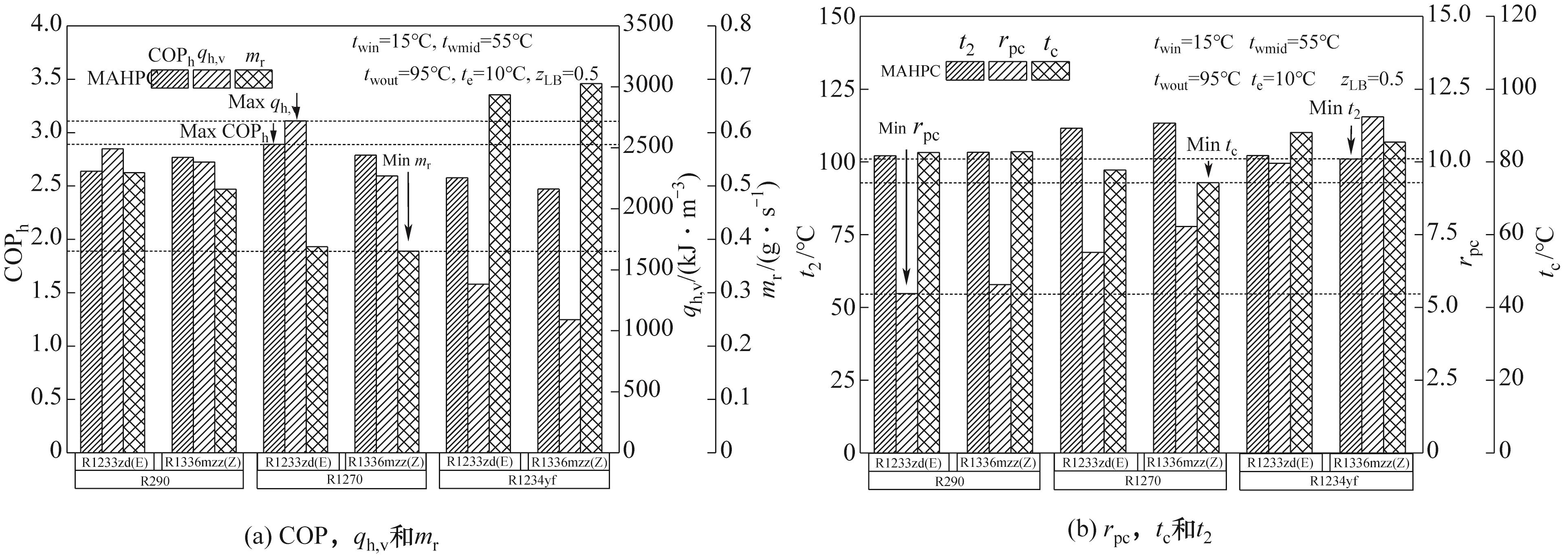
| Property | High-boiling | Low-boiling | |||
|---|---|---|---|---|---|
| R1336mzz(Z) | R1233zd(E) | R1270 | R290 | R1234yf | |
| tNBP /℃ | 33.00 | 18.00 | -47.70 | -42.11 | -26.11 |
| tcrit/℃ | 171.30 | 166.50 | 90.10 | 96.74 | 36.30 |
| Pcrit/MPa | 2.90 | 3.60 | 4.21 | 4.25 | 4.10 |
| ODP | 0 | 0 | 0 | 0 | 0 |
| GWP | 2 | 1 | 3 | 20 | 2 |
Table 5 Thermophysical properties of selected refrigerants
| Property | High-boiling | Low-boiling | |||
|---|---|---|---|---|---|
| R1336mzz(Z) | R1233zd(E) | R1270 | R290 | R1234yf | |
| tNBP /℃ | 33.00 | 18.00 | -47.70 | -42.11 | -26.11 |
| tcrit/℃ | 171.30 | 166.50 | 90.10 | 96.74 | 36.30 |
| Pcrit/MPa | 2.90 | 3.60 | 4.21 | 4.25 | 4.10 |
| ODP | 0 | 0 | 0 | 0 | 0 |
| GWP | 2 | 1 | 3 | 20 | 2 |
| 1 | Hepbasli A, Kalinci Y. A review of heat pump water heating systems[J]. Renewable and Sustainable Energy Reviews, 2009, 13(6/7): 1211-1229. |
| 2 | Bamigbetan O, Eikevik T M, Nekså P, et al. Experimental investigation of a prototype R-600 compressor for high temperature heat pump[J]. Energy, 2019, 169: 730-738. |
| 3 | Bansal P K, Jain S. Cascade systems: past, present, and future[J]. ASHRAE Transactions, 2007, 113: 245-252. |
| 4 | Cui C, Ren J H, Song Y L, et al. Energy and economic analysis of a sub-cooler based vapor injection transcritical CO2 heat pump for space heating[J]. International Journal of Refrigeration, 2024, 159: 241-253. |
| 5 | Wang S G, Tuo H F, Cao F, et al. Experimental investigation on air-source transcritical CO2 heat pump water heater system at a fixed water inlet temperature[J]. International Journal of Refrigeration, 2013, 36(3): 701-716. |
| 6 | Liu Z B, Ma L, Qian Z, et al. Experimental study on performance of the trans-critical CO2 heat pump with flash tank vapor injection at variable revolution ratio conditions[J]. Journal of Cleaner Production, 2023, 412: 137405. |
| 7 | Zhang Y X, Wei X L, Qin X. Experimental study on energy, exergy, and exergoeconomic analyses of a novel compression/ejector transcritical CO2 heat pump system with dual heat sources[J]. Energy Conversion and Management, 2022, 271: 116343. |
| 8 | Ji Q, Yin Y G, Huang G S, et al. An advanced cascade method for optimal industrial heating performance in hybrid heat pump[J]. Energy Conversion and Management, 2024, 303: 118187. |
| 9 | Bamigbetan O, Eikevik T M, Nekså P, et al. The development of a hydrocarbon high temperature heat pump for waste heat recovery[J]. Energy, 2019, 173: 1141-1153. |
| 10 | Sun S J, Guo H, Gong M Q. Thermodynamic analysis of single-stage compression air-source heat pumps with different recuperation ways for large temperature lift[J]. International Journal of Refrigeration, 2019, 108: 91-102. |
| 11 | Sun S J, Guo H, Lu D, et al. Performance of a single-stage recuperative high-temperature air source heat pump[J]. Applied Thermal Engineering, 2021, 193: 116969. |
| 12 | Zhang L, Jiang Y Q, Dong J K, et al. Advances in vapor compression air source heat pump system in cold regions: a review[J]. Renewable and Sustainable Energy Reviews, 2018, 81: 353-365. |
| 13 | Guo H, Gong M Q, Qin X Y. Performance analysis of a modified subcritical zeotropic mixture recuperative high-temperature heat pump[J]. Applied Energy, 2019, 237: 338-352. |
| 14 | 徐卫荣, 杜垲. 自然复叠式热泵循环系统热力性能分析[J]. 化工学报, 2008, 59(S2): 230-234. |
| Xu W R, Du K. Thermal performance analysis of auto-cascade heat pump circular system[J]. Journal of Chemical Industry and Engineering (China), 2008, 59(S2): 230-234. | |
| 15 | Zhao L, Zheng N, Deng S. A thermodynamic analysis of an auto-cascade heat pump cycle for heating application in cold regions[J]. Energy and Buildings, 2014, 82: 621-631. |
| 16 | Luo J L, Wang Q, Yang K Y, et al. Performance investigation on a novel air-source heat pump using CO2/HC for recirculated water heater in cold regions[J]. Sustainable Energy Technologies and Assessments, 2022, 53: 102496. |
| 17 | Luo J L, Yang K Y, Liu Y L, et al. Experimental and theoretical assessments on the systematic performance of a single-stage air-source heat pump using ternary mixture in cold regions[J]. Applied Thermal Engineering, 2023, 234: 121300. |
| 18 | Chen J H, Chen Q, Qin X, et al. Energy, exergy, economic and environmental analyses and optimization of a novel vapor injection autocascade heat pump for high-temperature water heating[J]. Energy Conversion and Management, 2022, 267: 115909. |
| 19 | Fan C C, Yan G, Yu J L. Theoretical study on a modified heat pump cycle with zeotropic mixture R32/R290 for district heating in cold region[J]. Applied Thermal Engineering, 2019, 156: 702-707. |
| 20 | Fan C C, Yan G, Yu J L. Thermodynamic analysis of a modified solar assisted ejector-compression heat pump cycle with zeotropic mixture R290/R600a[J]. Applied Thermal Engineering, 2019, 150: 42-49. |
| 21 | Pan G, Li Z. Investigation on incomplete condensation of non-azeotropic working fluids in high temperature heat pumps[J]. Energy Conversion and Management, 2006, 47(13/14): 1884-1893. |
| 22 | Arpagaus C, Bless F, Uhlmann M, et al. High temperature heat pumps: market overview, state of the art, research status, refrigerants, and application potentials[J]. Energy, 2018, 152: 985-1010. |
| 23 | Lu Z N, Yao Y, Liu G P, et al. Thermodynamic and economic analysis of a high temperature cascade heat pump system for steam generation[J]. Processes, 2022, 10(9): 1862. |
| 24 | 李廷勋, 郭开华, 王如竹, 等. 非共沸混合工质R22/R141b高温热泵实验研究[J]. 化工学报, 2002, 53(5): 542-545. |
| Li T X, Guo K H, Wang R Z, et al. High temperature heat pump with non-azeotropic refrigerant mixtures[J]. Journal of Chemical Industry and Engineering (China), 2002, 53(5): 542-545. | |
| 25 | Mohanraj M, Muraleedharan C, Jayaraj S. A review on recent developments in new refrigerant mixtures for vapour compression-based refrigeration, air-conditioning and heat pump units[J]. International Journal of Energy Research, 2011, 35(8): 647-669. |
| 26 | Mohanraj M, Jayaraj S, Muraleedharan C. Environment friendly alternatives to halogenated refrigerants—a review[J]. International Journal of Greenhouse Gas Control, 2009, 3(1): 108-119. |
| 27 | 周昉, 刘剑, 张小松. 基于多参数评估原则筛选高温热泵用三元非共沸混合工质[J]. 化工学报, 2023, 74(11): 4487-4500. |
| Zhou F, Liu J, Zhang X S. Selection of ternary zeotropic mixtures for high-temperature heat pumps on multiparameter evaluation principles[J]. CIESC Journal, 2023, 74(11): 4487-4500. | |
| 28 | 梁坤峰, 冯长振, 王莫然, 等. 非共沸工质换热匹配特性影响热泵性能的高级㶲分析[J]. 化工学报, 2021, 72(4): 2038-2046. |
| Liang K F, Feng C Z, Wang M R, et al. Advanced exergy analysis of heat pump performance affected by heat transfer matching characteristics of non-azeotropic refrigerants[J]. CIESC Journal, 2021, 72(4): 2038-2046. | |
| 29 | Lv X L, Yan G, Yu J L. Solar-assisted auto-cascade heat pump cycle with zeotropic mixture R32/R290 for small water heaters[J]. Renewable Energy, 2015, 76: 167-172. |
| 30 | 巨福军, 侯力豪, 刘清磊, 等. 热泵热水器中自然替代工质R1270和R290的充注量优选及性能研究[J/OL].制冷学报, 2024, . |
| Ju F J, Hou L H, Liu Q L, et al. Optimal charging quantity and performance study of natural alternative refrigerants R 1270 and R290 in heat pump water heaters[J/OL]. Journal of Refrigeration, 2024, . | |
| 31 | Qin Y B, Li N X, Zhang H, et al. Thermodynamic performance of a modified -150℃ refrigeration system coupled with Linde-Hampson and three-stage auto-cascade using low-GWP refrigerants[J]. Energy Conversion and Management, 2021, 236: 114093. |
| 32 | Yan G, He C X, Yu J L. Theoretical investigation on the performance of a modified refrigeration cycle using binary zeotropic hydrocarbon mixture R170/R290[J]. International Journal of Refrigeration, 2018, 94: 111-117. |
| 33 | Liu S L, Bai T, Wei Y, et al. Performance analysis of a modified ejector-enhanced auto-cascade refrigeration cycle[J]. Energy, 2023, 265: 126334. |
| 34 | Lemmon E W, Bell I H, Huber M L, et al. NIST standard reference database 23: reference fluid thermodynamic and transport properties-REFPROP, version 10.[DB]. Gaithersburg, 2018. |
| [1] | Youmiao ZHOU, Ye LIU, Feng YU, Xiaoyu LUO, Binhui WANG. Analysis of a novel dual heat source compression-ejection hybrid heat pump system [J]. CIESC Journal, 2025, 76(S1): 36-42. |
| [2] | Yutao WANG, Jianying GONG, Xiangyu LI, Xin WU, Xiufang LIU. Study on directionally propelled droplet based on the piezoelectric-acoustic streaming effect [J]. CIESC Journal, 2025, 76(S1): 181-186. |
| [3] | Liming PU, Gui WANG, Chunlai ZHENG, Ke WANG, Tenglong XIANG, Zhihong WANG. Optimization and analysis of natural gas liquefaction process in mixed fluid cascade [J]. CIESC Journal, 2024, 75(S1): 267-275. |
| [4] | Qiwang HOU, Zhaolun WEN, Zhonglin ZHANG, Yegang LIU, Jingxuan YANG, Dongliang CHEN, Xiaogang HAO, Guoqing GUAN. Design and evaluation of a coal-based polygeneration system with carbon cycle [J]. CIESC Journal, 2022, 73(5): 2073-2082. |
| [5] | LU Pei, LUO Xianglong, CHEN Jianyong, YANG Zhi, LIANG Yingzong, CHEN Ying. Operating characteristics and advanced exergy analysis of plate heat exchangers and their thermal system [J]. CIESC Journal, 2021, 72(S1): 512-519. |
| [6] | LIANG Kunfeng, FENG Changzhen, WANG Moran, DONG Bin, WANG Lin, LIU Ruijian. Advanced exergy analysis of heat pump performance affected by heat transfer matching characteristics of non-azeotropic refrigerants [J]. CIESC Journal, 2021, 72(4): 2038-2046. |
| [7] | LIU Xuegang, HE Chang, LEI Yang, HE Changchun, ZHANG Bingjian, CHEN Qinglin. Optimized design method for internal heat-integrated distillation columns based on column grand composite curve [J]. CIESC Journal, 2017, 68(4): 1482-1489. |
| [8] | SHAO Di, DAI Zhenghua, YU Guangsuo, GONG Xin, WANG Fuchen. Energy and economic assessment for integrated gasification system of fixed-bed and coal-water slurry entrained-bed [J]. CIESC Journal, 2013, 64(6): 2186-2193. |
| [9] | . Characteristics of heat and mass transfer in direct evaporative cooling process with different temperature range [J]. CIESC Journal, 2013, 64(5): 0-0. |
| [10] | . Characteristics of heat and mass transfer in direct evaporative cooling process with different temperature range [J]. CIESC Journal, 2013, 64(5): 0-0. |
| [11] | CHEN Yao, YIN Yonggao, ZHANG Xiaosong, WANG Geng. Characteristics of heat and mass transfer in direct evaporative cooling process in different temperature ranges [J]. CIESC Journal, 2013, 64(5): 1532-1540. |
| [12] | ZHANG Junhui, LIU Juanfang, CHEN Qinghua. Optimal evaporating temperature and exergy analysis for organic Rankine cycle [J]. CIESC Journal, 2013, 64(3): 820-826. |
| [13] | WANG Chunyan,SHAO Fangyuan,ZHU Xin,ZHANG Caizhu,WEI Shun’an . Exergy analysis of mixed refrigerant liquefaction natural gas process [J]. Chemical Industry and Engineering Progree, 2013, 32(11): 2604-2608. |
| [14] | ZHANG Caizhu,WANG Chunyan,CHEN Shan,WEI Shun’an. Energy analysis of subcritical coal-fired power plant [J]. Chemical Industry and Engineering Progree, 2013, 32(06): 1278-1282. |
| [15] | ZHANG Yaning,ZHAO Yijun,SUN Shaozeng,LI Bingxi. Exergy analysis of rice husk gasification process in entrained-flow reactor [J]. CIESC Journal, 2012, 63(3): 929-934. |
| Viewed | ||||||
|
Full text |
|
|||||
|
Abstract |
|
|||||