化工学报 ›› 2025, Vol. 76 ›› Issue (11): 5574-5583.DOI: 10.11949/0438-1157.20250452
收稿日期:2025-04-28
修回日期:2025-05-26
出版日期:2025-11-25
发布日期:2025-12-19
通讯作者:
马骁
作者简介:张晓卿(1996—),男,博士,zhangxq2023@mail.tsinghua.edu.cn
基金资助:
Xiaoqing ZHANG1(
), Xiao MA2(
), Shijin SHUAI1
Received:2025-04-28
Revised:2025-05-26
Online:2025-11-25
Published:2025-12-19
Contact:
Xiao MA
摘要:
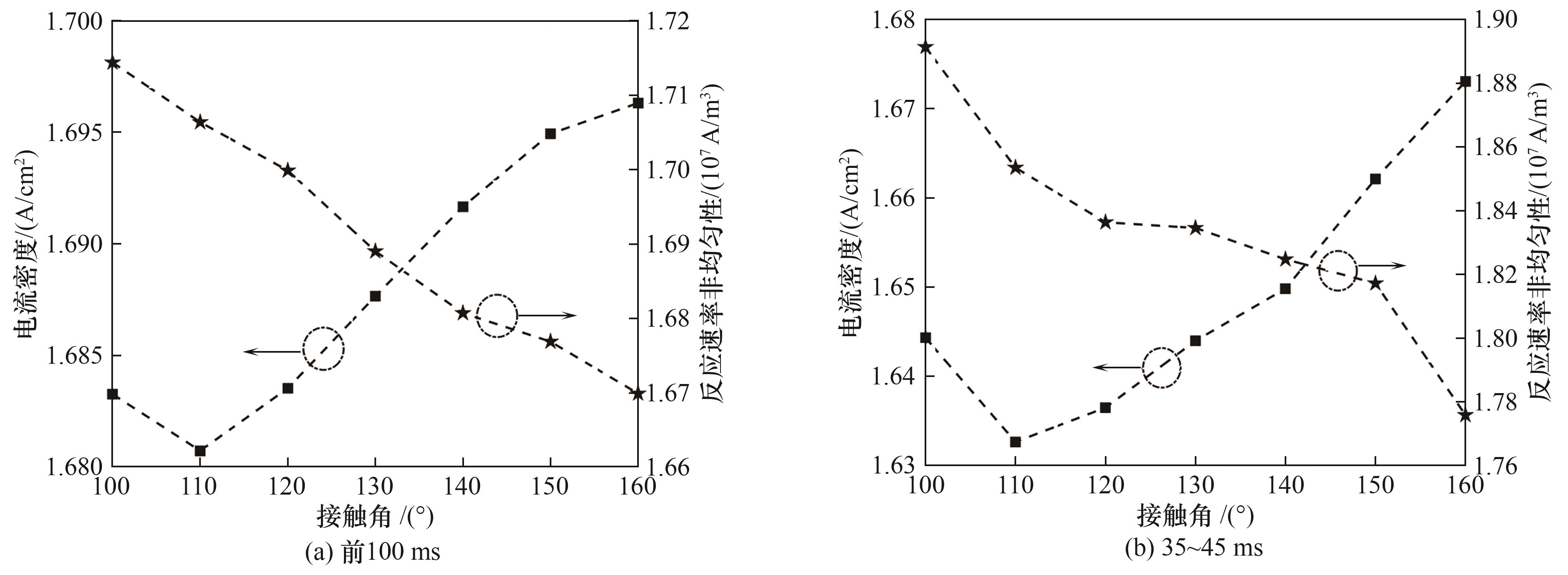
质子交换膜燃料电池流道内的两相流是影响其性能的关键因素,但考虑气液界面演化等详细两相流特性的多物理场耦合研究仍然不足。通过构建耦合流体体积模型的燃料电池模型,定量解析了气体扩散层(gas diffusion layer,GDL)表面润湿性对燃料电池传质及性能的影响。结果表明,忽略流道内详细两相流会高估燃料电池性能及物理量分布均匀性,而随着GDL表面疏水性的增强,GDL表面的液态水覆盖面积下降,在前期有利于增强氧气输运及燃料电池性能,但也会导致排水变慢,在后期导致燃料电池性能恢复较慢。在本研究中,GDL表面接触角为160°时燃料电池性能最佳,而接触角为110°时性能最低。本研究为理解燃料电池流道内两相流影响机制、设计高性能燃料电池提供了理论及模型支撑。
中图分类号:
张晓卿, 马骁, 帅石金. 考虑扩散层表面润湿性的流道内两相流对燃料电池性能影响研究[J]. 化工学报, 2025, 76(11): 5574-5583.
Xiaoqing ZHANG, Xiao MA, Shijin SHUAI. Study on influence of two-phase flow in channels considering surface wettability of gas diffusion layers on fuel cell performance[J]. CIESC Journal, 2025, 76(11): 5574-5583.
| 参数 | 数值 |
|---|---|
| 流道长度/mm | 50 |
| 流道高度/mm | 0.5 |
| 厚度(GDL、CL、MEM)/mm | 0.2、0.01、0.0254 |
| 接触角(GDL、CL)/(°) | 100~160、100 |
| 渗透率(GDL、CL)/m2 | 1.0×10-12、2.0×10-20 |
| 空气流速/(m/s) | 1 |
| 工作压力/atm | 1.5 |
| 工作温度/K | 353.15 |
表1 主要几何参数及工作条件
Table 1 Main physical parameters and operating conditions
| 参数 | 数值 |
|---|---|
| 流道长度/mm | 50 |
| 流道高度/mm | 0.5 |
| 厚度(GDL、CL、MEM)/mm | 0.2、0.01、0.0254 |
| 接触角(GDL、CL)/(°) | 100~160、100 |
| 渗透率(GDL、CL)/m2 | 1.0×10-12、2.0×10-20 |
| 空气流速/(m/s) | 1 |
| 工作压力/atm | 1.5 |
| 工作温度/K | 353.15 |
| 名称 | 方程 |
|---|---|
| 质量守恒 | |
| 动量守恒 | |
| 相守恒 | |
| 表面张力源项 | |
| 表面曲率 |
表2 流体体积模型
Table 2 Volume of fluid model
| 名称 | 方程 |
|---|---|
| 质量守恒 | |
| 动量守恒 | |
| 相守恒 | |
| 表面张力源项 | |
| 表面曲率 |
| 名称 | 方程 |
|---|---|
| 质量守恒 | |
| 动量守恒 | |
| 气相组分守恒 | |
| 液态水守恒 | |
| 膜态水守恒 | |
| 电子守恒 | |
| 离子守恒 |
表3 守恒方程
Table 3 Conservation equations
| 名称 | 方程 |
|---|---|
| 质量守恒 | |
| 动量守恒 | |
| 气相组分守恒 | |
| 液态水守恒 | |
| 膜态水守恒 | |
| 电子守恒 | |
| 离子守恒 |
| 源项 | 单位 |
|---|---|
| kg/(m3·s) | |
| kg/(m2·s) | |
| kg/(m3·s) | |
| kg/(m3·s) | |
| kg/(m3·s) | |
| kg/(m3·s) | |
| kg/(m3·s) | |
| kg/(m3·s) | |
| mol/(m3·s) | |
| A/m3 | |
| A/m3 |
表4 控制方程源项
Table 4 Source terms
| 源项 | 单位 |
|---|---|
| kg/(m3·s) | |
| kg/(m2·s) | |
| kg/(m3·s) | |
| kg/(m3·s) | |
| kg/(m3·s) | |
| kg/(m3·s) | |
| kg/(m3·s) | |
| kg/(m3·s) | |
| mol/(m3·s) | |
| A/m3 | |
| A/m3 |
| [1] | Zhang X Q, Ma X, Zhang Z H, et al. Review and analysis of thermal management for proton exchange membrane fuel cell hybrid power system[J]. Renewable Energy, 2025, 244: 122716. |
| [2] | Jiao K, Xuan J, Du Q, et al. Designing the next generation of proton-exchange membrane fuel cells[J]. Nature, 2021, 595(7867): 361-369. |
| [3] | Liu H, Chen J, Hissel D, et al. Prognostics methods and degradation indexes of proton exchange membrane fuel cells: a review[J]. Renewable and Sustainable Energy Reviews, 2020, 123: 109721. |
| [4] | Liu L N, Guo L Y, Zhang R Y, et al. Numerically investigating two-phase reactive transport in multiple gas channels of proton exchange membrane fuel cells[J]. Applied Energy, 2021, 302: 117625. |
| [5] | Wang Y, Ruiz Diaz D F, Chen K S, et al. Materials, technological status, and fundamentals of PEM fuel cells—a review[J]. Materials Today, 2020, 32: 178-203. |
| [6] | Xiong K N, Wu W, Wang S F, et al. Modeling, design, materials and fabrication of bipolar plates for proton exchange membrane fuel cell: a review[J]. Applied Energy, 2021, 301: 117443. |
| [7] | Xu S N, Liao P Y, Yang D J, et al. Liquid water transport in gas flow channels of PEMFCs: a review on numerical simulations and visualization experiments[J]. International Journal of Hydrogen Energy, 2023, 48(27): 10118-10143. |
| [8] | Zhou Y L, Chang H, Qi T Y. Gas-liquid two-phase flow in serpentine microchannel with different wall wettability[J]. Chinese Journal of Chemical Engineering, 2017, 25(7): 874-881. |
| [9] | Zhang X Q, Ma X, Shuai S J. Impact of detailed liquid water transport in channel on mass transfer and performance of proton exchange membrane fuel cell[J]. International Communications in Heat and Mass Transfer, 2025, 162: 108515. |
| [10] | Bazylak A. Liquid water visualization in PEM fuel cells: a review[J]. International Journal of Hydrogen Energy, 2009, 34(9): 3845-3857. |
| [11] | Ferreira R B, Falcão D S, Oliveira V B, et al. Numerical simulations of two-phase flow in proton exchange membrane fuel cells using the volume of fluid method—a review[J]. Journal of Power Sources, 2015, 277: 329-342. |
| [12] | Li M J, Zhang E R, Zhang M F, et al. Ex-situ experimental study on extraction of droplet dynamic parameters based on droplet shape in PEMFC[J]. International Journal of Green Energy, 2025, 22(5): 858-865. |
| [13] | Xu Y F, Peng L F, Yi P Y, et al. Numerical investigation of liquid water dynamics in wave-like gas channels of PEMFCs[J]. International Journal of Energy Research, 2019, 43(3): 1191-1202. |
| [14] | Qiu D, Xu Z, Shao H, et al. Analytical modelling of water droplet behavior at the gas channel corner for proton exchange membrane fuel cells[J]. Journal of Electrochemical Energy Conversion and Storage, 2025, 22(1): 011001. |
| [15] | Chen J X, Bao Z M, Xu Y F, et al. Investigation of liquid retention behavior in the flow field plate of large-size proton exchange membrane fuel cells: effects of sub-distribution zone[J]. Applied Energy, 2024, 358: 122651. |
| [16] | Zhang X Q, Yang J P, Ma X, et al. Numerical investigation of water dynamics in a novel wettability gradient anode flow channel for proton exchange membrane fuel cells[J]. International Journal of Energy Research, 2020, 44(13): 10282-10294. |
| [17] | Ding Y L, Bi X T, Wilkinson D P. 3D simulations of the impact of two-phase flow on PEM fuel cell performance[J]. Chemical Engineering Science, 2013, 100: 445-455. |
| [18] | Zhang G B, Wu L Z, Qin Z K, et al. A comprehensive three-dimensional model coupling channel multi-phase flow and electrochemical reactions in proton exchange membrane fuel cell[J]. Advances in Applied Energy, 2021, 2: 100033. |
| [19] | Zhang X Q, Ma X, Qin Y Z, et al. Modeling research of the impact of liquid water in channel on gas and water transport in proton exchange membrane fuel cell[J]. International Journal of Heat and Mass Transfer, 2024, 235: 126127. |
| [20] | Penga Ž, Bergbreiter C, Barbir F, et al. Numerical and experimental analysis of liquid water distribution in PEM fuel cells[J]. Energy Conversion and Management, 2019, 189: 167-183. |
| [21] | Ding Y J, Xu L F, Zheng W B, et al. Characterizing the two-phase flow effect in gas channel of proton exchange membrane fuel cell with dimensionless number[J]. International Journal of Hydrogen Energy, 2023, 48(13): 5250-5265. |
| [22] | Chen H, Guo H, Ye F, et al. Improving two-phase mass transportation under non-Darcy flow effect in orientated-type flow channels of proton exchange membrane fuel cells[J]. International Journal of Hydrogen Energy, 2021, 46(41): 21600-21618. |
| [23] | Ding Y, Bi X T, Wilkinson D P. Numerical investigation of the impact of two-phase flow maldistribution on PEM fuel cell performance[J]. International Journal of Hydrogen Energy, 2014, 39(1): 469-480. |
| [24] | Ferreira R B, Falcão D S, Oliveira V B, et al. 1D+3D two-phase flow numerical model of a proton exchange membrane fuel cell[J]. Applied Energy, 2017, 203: 474-495. |
| [25] | Le A D, Zhou B. A generalized numerical model for liquid water in a proton exchange membrane fuel cell with interdigitated design[J]. Journal of Power Sources, 2009, 193(2): 665-683. |
| [26] | Zhang X Q, Ma X, Yang J P, et al. Effect of liquid water in flow channel on proton exchange membrane fuel cell: focusing on flow pattern[J]. Energy Conversion and Management, 2022, 258: 115528. |
| [27] | Liu H C, Tan J, Cheng L S, et al. Enhanced water removal performance of a slope turn in the serpentine flow channel for proton exchange membrane fuel cells[J]. Energy Conversion and Management, 2018, 176: 227-235. |
| [28] | Zhang G B, Qu Z G, Tao W Q, et al. Porous flow field for next-generation proton exchange membrane fuel cells: materials, characterization, design, and challenges[J]. Chemical Reviews, 2023, 123(3): 989-1039. |
| [29] | Ma X, Zhang X Q, Yang J P, et al. Impact of gas diffusion layer spatial variation properties on water management and performance of PEM fuel cells[J]. Energy Conversion and Management, 2021, 227: 113579. |
| [30] | Jiao K, Li X G. Water transport in polymer electrolyte membrane fuel cells[J]. Progress in Energy and Combustion Science, 2011, 37(3): 221-291. |
| [31] | Theodorakakos A, Ous T, Gavaises M, et al. Dynamics of water droplets detached from porous surfaces of relevance to PEM fuel cells[J]. Journal of Colloid and Interface Science, 2006, 300(2): 673-687. |
| [1] | 燕子腾, 詹飞龙, 丁国良. 空调用套管式分流器结构设计及分流效果验证[J]. 化工学报, 2025, 76(S1): 152-159. |
| [2] | 赵子祥, 段钟弟, 孙浩然, 薛鸿祥. 大温差两相流动诱导水锤冲击的数值模型[J]. 化工学报, 2025, 76(S1): 170-180. |
| [3] | 曹庆泰, 郭松源, 李建强, 蒋赞, 汪彬, 耑锐, 吴静怡, 杨光. 负过载下多孔隔板对液氧贮箱蓄液性能的影响研究[J]. 化工学报, 2025, 76(S1): 217-229. |
| [4] | 孙九春, 桑运龙, 王海涛, 贾浩, 朱艳. 泥水盾构仓体内射流对泥浆输送特性影响研究[J]. 化工学报, 2025, 76(S1): 246-257. |
| [5] | 孔俊龙, 毕扬, 赵耀, 代彦军. 储能电池直冷热管理系统的模拟实验[J]. 化工学报, 2025, 76(S1): 289-296. |
| [6] | 黄琮琪, 邵双全. 液冷数据中心余热驱动的压缩-吸收式制冷系统特性研究[J]. 化工学报, 2025, 76(S1): 326-335. |
| [7] | 朱腾飞, 刘晔. 低GWP制冷剂在新能源汽车空调应用性能分析[J]. 化工学报, 2025, 76(S1): 343-350. |
| [8] | 段浩磊, 陈浩远, 梁坤峰, 王林, 陈彬, 曹勇, 张晨光, 李硕鹏, 朱登宇, 何亚茹, 杨大鹏. 纯电动车热管理系统低GWP工质替代方案性能分析与综合评价[J]. 化工学报, 2025, 76(S1): 54-61. |
| [9] | 郭松源, 周晓庆, 缪五兵, 汪彬, 耑锐, 曹庆泰, 陈成成, 杨光, 吴静怡. 火箭上升段含多孔板液氧贮箱增压输运数值研究[J]. 化工学报, 2025, 76(S1): 62-74. |
| [10] | 王俊鹏, 冯佳琪, 张恩搏, 白博峰. 曲折式与阵列式迷宫阀芯结构内流动与空化特性研究[J]. 化工学报, 2025, 76(S1): 93-105. |
| [11] | 曹潇风, 张华海, 王江云, 王利民. 锥形气体层流元件结构设计及流动特性研究[J]. 化工学报, 2025, 76(9): 4440-4448. |
| [12] | 陈昇, 李子争, 苗超, 白学刚, 李飞, 刘家璇, 李天天, 杨爽, 吕蓉蓉, 王江云. 大尺度密集场景高危氯气非均匀湍流扩散特性三维CFD模拟[J]. 化工学报, 2025, 76(9): 4630-4643. |
| [13] | 张帅, 徐嘉宇, 华蕾娜, 葛蔚. 气固系统的CG-DPM与MP-PIC耦合模拟方法[J]. 化工学报, 2025, 76(9): 4412-4424. |
| [14] | 刘奕扬, 邢志祥, 刘烨铖, 彭明, 李玉洋, 李云浩, 沈宁舟. 加氢站液氢泄漏扩散特性与安全监测数值模拟研究[J]. 化工学报, 2025, 76(9): 4694-4708. |
| [15] | 张彬怡, 孙少东, 姚谦, 蔡文河, 张惠宇, 李成新. 煤制甲醇耦合固体氧化物燃料电池混合系统研究[J]. 化工学报, 2025, 76(9): 4658-4669. |
| 阅读次数 | ||||||
|
全文 |
|
|||||
|
摘要 |
|
|||||
京公网安备 11010102001995号