• •
收稿日期:2025-08-24
修回日期:2025-12-25
出版日期:2025-12-25
通讯作者:
李大奇
作者简介:叶卫东(1975—),男,博士,副教授,ywd75106@163.com
Weidong YE(
), Haoran DONG, Zihao FENG, Daqi LI(
), Qingyun FU
Received:2025-08-24
Revised:2025-12-25
Online:2025-12-25
Contact:
Daqi LI
摘要:
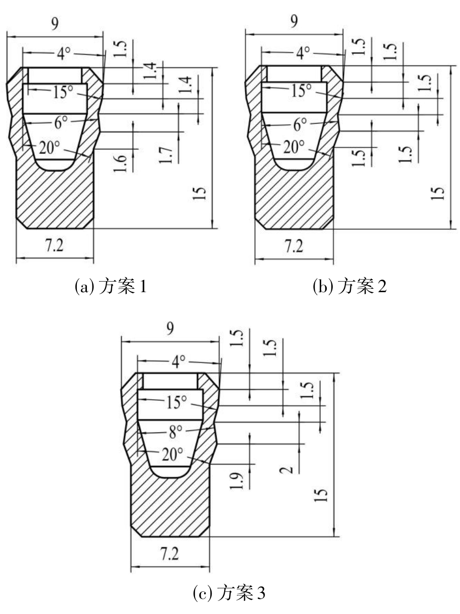
针对页岩油压裂作业中单井压裂段增加,对压裂阀的密封性能提出更高的要求。本文对压裂阀上的弹簧蓄能密封圈(泛塞封)进行105MPa压力下的仿真模拟,提出了基于接触压力大小和密封线长度的泛塞封密封性能评价方法,揭示了关键参数对密封性能的影响机制并优化结构参数。研究表明:仿真模型中有、无弹簧对超高压下泛塞封的密封性能影响小于2%;预压缩量对超高压下泛塞封的密封性能影响很小,但会显著增大泛塞封的等效应力,建议在满足磨损补偿前提下采用最小预压缩量;优化后的多唇口泛塞封密封性能显著提高,与单唇口相比最大接触压力提升32%,密封线长度增加93%。现场应用表明,优化后的泛塞封使用寿命提升2.8倍,作业中断率从18%降至3.2%。
中图分类号:
叶卫东, 董昊然, 冯子豪, 李大奇, 傅青云. 超高压阀弹簧蓄能密封圈密封性能仿真优化研究[J]. 化工学报, DOI: 10.11949/0438-1157.20250946.
Weidong YE, Haoran DONG, Zihao FENG, Daqi LI, Qingyun FU. Study on sealing performance optimization of spring-energized seals for ultra-high pressure valves[J]. CIESC Journal, DOI: 10.11949/0438-1157.20250946.
| 结构 | 材料 | 弹性 模量/ GPa | 泊松比 | 屈服 强度/ MPa | 抗压 强度/ MPa | 切线 模量/ MPa |
|---|---|---|---|---|---|---|
| 泛塞封密封环 | 碳纤维增强 聚四氟乙烯 | 0.4 | 0.45 | 15 | 60 | 30 |
| 弹簧 | Elgiloy合金 | 210 | 0.30 | 1186 | 1240 | -- |
| 阀座 | AISI410不锈钢 | 200 | 0.31 | 517 | 655 | -- |
表1 泛塞封密封圈材料性能参数
Tab.1 Material Performance Parameters of Spring-Energized Seal
| 结构 | 材料 | 弹性 模量/ GPa | 泊松比 | 屈服 强度/ MPa | 抗压 强度/ MPa | 切线 模量/ MPa |
|---|---|---|---|---|---|---|
| 泛塞封密封环 | 碳纤维增强 聚四氟乙烯 | 0.4 | 0.45 | 15 | 60 | 30 |
| 弹簧 | Elgiloy合金 | 210 | 0.30 | 1186 | 1240 | -- |
| 阀座 | AISI410不锈钢 | 200 | 0.31 | 517 | 655 | -- |
| 网格 | 总位移/mm | 等效应力/MPa | 接触压力/MPa |
|---|---|---|---|
| 0.2mm | 1.4784 | 52.472 | 119.83 |
| 0.1mm | 1.4821 | 54.127 | 121.92 |
| 0.05mm | 1.4807 | 54.078 | 122.51 |
表2 网格无关性验证结果
Tab.2 Results of Mesh Independence Verification
| 网格 | 总位移/mm | 等效应力/MPa | 接触压力/MPa |
|---|---|---|---|
| 0.2mm | 1.4784 | 52.472 | 119.83 |
| 0.1mm | 1.4821 | 54.127 | 121.92 |
| 0.05mm | 1.4807 | 54.078 | 122.51 |
| 最大变形/mm | 最大等效应力/MPa | 最大接触压力/MPa | |
|---|---|---|---|
| 有弹簧 | 1.4805 | 54.045 | 122.76 |
| 无弹簧 | 1.5098 | 53.568 | 121.25 |
表3 泛塞封有、无弹簧模拟结果
Tab.3 Simulation Results of Spring-Energized Seals With and Without Spring
| 最大变形/mm | 最大等效应力/MPa | 最大接触压力/MPa | |
|---|---|---|---|
| 有弹簧 | 1.4805 | 54.045 | 122.76 |
| 无弹簧 | 1.5098 | 53.568 | 121.25 |
| 最大变形/mm | 最大等效应力/MPa | 最大接触压力/MPa | |
|---|---|---|---|
| 无预压缩 | 1.7534 | 34.611 | 113.88 |
| 0.5mm预压缩 | 1.4211 | 60.710 | 106.82 |
表4 有无预压缩量模拟结果
Tab.4 Simulation Results with and without Pre-compression
| 最大变形/mm | 最大等效应力/MPa | 最大接触压力/MPa | |
|---|---|---|---|
| 无预压缩 | 1.7534 | 34.611 | 113.88 |
| 0.5mm预压缩 | 1.4211 | 60.710 | 106.82 |
| [1] | 姚俊成, 李龙龙, 刘喆, 等. 页岩油开发中水平井分段压裂技术研究[J]. 石化技术, 2025, 32(2): 401-403. |
| Yao J C, Li L L, Liu Z, et al. Study on staged fracturing technology of horizontal wells in shale oil development[J]. Petrochemical Industry Technology, 2025, 32(2): 401-403. | |
| [2] | 王达. 整体式采油树平板闸阀密封性能研究[D]. 成都: 西南石油大学, 2019. |
| Wang D. Study on Sealing Performance of Integral Christmas Tree Flat Gate Valve[D]. Chengdu: Southwest Petroleum University, 2019. | |
| [3] | Huang T C, Tsai J W, Liao K C. Wear and leakage assessments of canted coil Spring–Energized polytetrafluoroethylene seals under Ultra-High cycle operations[J]. Engineering Failure Analysis, 2022, 135: 106110. |
| [4] | Liu D Y, Zhao J, Li S X, et al. Experimental study on tribological and leakage characteristics of a rotating spring-energized seal under high and low temperature[J]. Machines, 2023, 11(2): 221. |
| [5] | Visconte C, Conte M, Mattone M C. Analysis of the leakage path in an air-lubricated seal[J]. Tribology International, 2009, 42(6): 844-848. |
| [6] | Oswald J, Mullen R, Dunlap P, et al. Modeling and evaluation of canted coil springs as high temperature seal preloading devices[C]//40th AIAA/ASME/SAE/ASEE Joint Propulsion Conference and Exhibit. 11 July 2004 - 14 July 2004, Fort Lauderdale, Florida. Reston, Virginia: AIAA, 2004: 3889. |
| [7] | Dunlap Jr P H, Steinetz B M, DeMange J J. High temperature propulsion system structural seals for future space launch vehicles[C]//3rd Modeling and Simulation Joint Subcommittee Meeting. 2004 (E-14304). |
| [8] | 张幼安. 机械密封中的O形密封圈设计研究[J]. 电子机械工程, 2018, 34(3): 23-26, 39. |
| Zhang Y A. Study on design of O-ring used in mechanical seal[J]. Electro-Mechanical Engineering, 2018, 34(3): 23-26, 39. | |
| [9] | Melnikov O M, Serov N V, Lapaev A V. Influence of the band spring pressure on the contact load in the shaft–seal connection[J]. Technical Physics, 2025, 70(3): 80-83. |
| [10] | Zhang F, Xiang C, Guo F, et al. An equivalent axisymmetric modeling approach for circumferential springs under large deformation based on mechanical anisotropy[J]. Proceedings of the Institution of Mechanical Engineers, Part C: Journal of Mechanical Engineering Science, 2024, 238(16): 8376-8389. |
| [11] | Kim G H, Her N I, Kim H T.A design study on metal C-ring seals[J].Vacuum: Technology Applications & Ion Physics: The International Journal & Abstracting Service for Vacuum Science & Technology, 2022. |
| [12] | 贾晓红, 李坤. 弹簧蓄能密封圈轴对称仿真模型建模方法研究[J]. 润滑与密封, 2015, 40(11): 1-5. |
| Jia X H, Li K. A research on 2-D axisymmetric finite element model for spring energized seal ring[J]. Lubrication Engineering, 2015, 40(11): 1-5. | |
| [13] | 贾晓红, 李坤. 弹簧蓄能密封圈密封系统的密封特性研究[J]. 润滑与密封, 2015, 40(12): 116-120. |
| Jia X H, Li K. Research on sealing characteristics of sealing system utilizing spring energized seal ring[J]. Lubrication Engineering, 2015, 40(12): 116-120. | |
| [14] | Lee C Y, Lin C S, Jian R Q, et al. Simulation and experimentation on the contact width and pressure distribution of lip seals[J]. Tribology International, 2006, 39(9): 915-920. |
| [15] | Jang S Y, Sung I H. Analysis of Sealing Effectiveness Based on Spring Stiffness of a Spring-Energized Static Seal[J]. Tribology and Lubricants, 2018, 34(6): 307-312. |
| [16] | Rae P J, Dattelbaum D M. The properties of poly(tetrafluoroethylene) (PTFE) in compression[J]. Polymer, 2004, 45(22): 7615-7625. |
| [17] | Wang Q H, Zheng F, Wang T M. Tribological properties of polymers PI, PTFE and PEEK at cryogenic temperature in vacuum[J]. Cryogenics, 2016, 75: 19-25. |
| [18] | 张招柱, 曹佩弦, 王坤, 等. PTFE复合材料的摩擦学性能及力学性能[J]. 高分子材料科学与工程, 2005, 21(2): 189-192. |
| Zhang Z Z, Cao P X, Wang K, et al. Study on tribological and mechanical properties of ptfe composites[J]. Polymeric Materials Science & Engineering, 2005, 21(2): 189-192. | |
| [19] | 杜鸣杰, 王文东, 薛春, 等. PTFE弹簧蓄能密封设计及应用[J]. 有机氟工业, 2014(3): 32-36. |
| Du M J, Wang W D, Xue C, et al. Design and application of spring- energized PTFE seals[J]. Organo-Fluorine Industry, 2014(3): 32-36. | |
| [20] | 臧平. 超高压节流阀密封件动静密封性能分析与研制[D]. 成都: 西南石油大学, 2015. |
| Zang P. Analysis and Development of Dynamic and Static Sealing Performance of Ultra-High Pressure Throttle Valve Seals[D]. Chengdu: Southwest Petroleum University, 2015. | |
| [21] | 辛顺, 尹云, 王屹, 等. 聚四氟乙烯材料属性对蓄能弹簧密封圈的影响[J]. 石油化工设备, 2022, 51(5): 56-61. |
| Xin S, Yin Y, Wang Y, et al. Effect of polytetrafluoroethylene property on spring energized seal[J]. Petro-Chemical Equipment, 2022, 51(5): 56-61. | |
| [22] | 王帅, 李莹, 陈涛, 等. 超低温弹簧蓄能密封圈动密封性能有限元分析与优化设计[J]. 润滑与密封, 2022, 47(10): 9-18. |
| Wang S, Li Y, Chen T, et al. Finite element analysis and optimization design of the dynamic characteristics of ultra-low temperature spring energized seal ring[J]. Lubrication Engineering, 2022, 47(10): 9-18. | |
| [23] | 高涵宇, 李佳君, 杜彬, 等. 单点系泊系统液滑环弹簧蓄能密封圈密封性能研究[J]. 润滑与密封, 2019, 44(12): 75-80. |
| Gao H Y, Li J J, Du B, et al. Research on sealing performance of single point mooring liquid swivel seal ring[J]. Lubrication Engineering, 2019, 44(12): 75-80. | |
| [24] | 赵勇. 往复运动下泛塞封密封性能仿真分析与试验研究[D]. 无锡: 江南大学, 2023. |
| Zhao Y. Simulation analysis and experimental study of the spring energized seal ring performance under reciprocating motion[D]. Wuxi: Jiangnan University, 2023. | |
| [25] | 纪佳馨, 杨志康, 张帆, 等. 石油井安全阀弹簧蓄能密封性能分析及结构优化[J]. 润滑与密封, 2024, 49(8): 1-9. |
| Ji J X, Yang Z K, Zhang F, et al. Performance analysis and structure optimization of spring energy storage seal for oil well safety valve[J]. Lubrication Engineering, 2024, 49(8): 1-9. | |
| [26] | 刘亮, 蒋兴, 刘敏, 等. 页岩气钻采井口平板阀的设计[J]. 重庆文理学院学报(社会科学版), 2014, 33(5): 81-84. |
| Liu L, Jiang X, Liu M, et al. Design of shale gas drilling wellhead flat valve[J]. Journal of Chongqing University of Arts and Sciences (Social Sciences Edition), 2014, 33(5): 81-84. | |
| [27] | 赵鑫妮. 超低温泛塞密封圈密封性能分析与数字化设计软件开发[D]. 北京: 北京化工大学, 2025. |
| Zhao X N. Sealing performance analysis and digital design software development of ultra-low temperature flooding sealing ring[D]. Beijing: Beijing University of Chemical Technology, 2025. | |
| [28] | 袁国海, 王永红, 高翔, 等. 唇口数量对弹簧蓄能密封性能的影响[J]. 润滑与密封, 2025, 50(4): 159-167. |
| Yuan G H, Wang Y H, Gao X, et al. Influence of lip number on performances of spring energy storage seals[J]. Lubrication Engineering, 2025, 50(4): 159-167. | |
| [29] | 王聚财, 袁航, 张建宇. 基于ANSYS Workbench活塞组合密封圈优化研究[J]. 液压气动与密封, 2023, 43(9): 58-64. |
| Wang J C, Yuan H, Zhang J Y. Optimization of piston combined seal ring based on ANSYS workbench[J]. Hydraulics Pneumatics & Seals, 2023, 43(9): 58-64. |
| [1] | 张家豪, 弓志超, 李双喜, 王克俭, 李方俊. 基于流-固-热全耦合数值方法的超高压干气密封的热力变形影响分析及变形协调研究[J]. 化工学报, 2025, 76(11): 5980-5997. |
| [2] | 江澳翔, 陈源, 李运堂, 江锦波, 彭旭东, 章聪, 王冰清. 微间隙高速流体效应对箔片柱面气膜密封性能的影响[J]. 化工学报, 2024, 75(10): 3691-3704. |
| [3] | 邢雷, 苗春雨, 蒋明虎, 赵立新, 李新亚. 井下微型气液旋流分离器优化设计与性能分析[J]. 化工学报, 2023, 74(8): 3394-3406. |
| [4] | 谢玉汉, 孟祥铠, 赵文静, 王禹衡, 洪先志, 彭旭东. 高压工况上游泵送机械密封热力变形与密封性能分析[J]. 化工学报, 2023, 74(10): 4241-4251. |
| [5] | 赵文静, 屠治荣, 孟祥铠, 江锦波, 彭旭东. 非规则V形表面织构化机械端面密封性能研究[J]. 化工学报, 2022, 73(10): 4585-4593. |
| [6] | 孟祥铠, 孟令超, 马艺, 江锦波, 彭旭东. 多孔质机械密封耦合润滑模型与密封性能分析[J]. 化工学报, 2022, 73(10): 4576-4584. |
| [7] | 肖凡,贾胜坤,罗祎青,袁希钢. 基于CFD模拟的甲烷裂解太阳能管式反应器结构优化[J]. 化工学报, 2021, 72(10): 5053-5063. |
| [8] | 张友亮, 程香平, 韦江, 康林萍, 付远. 微椭圆孔轴面织构油封密封性能仿真模拟及机理探究[J]. 化工学报, 2019, 70(7): 2660-2667. |
| [9] | 熊攀, 鄢曙光, 刘玮寅. 基于响应曲面法的旋风分离器结构优化[J]. 化工学报, 2019, 70(1): 154-160. |
| [10] | 高静, 郑才菊, 谈婷如, 张迪, 刘书成, 吉宏武. 超高压环境下离子液体微乳液预处理对水稻秸秆的影响[J]. 化工学报, 2018, 69(8): 3686-3692. |
| [11] | 李壮楣, 王艳美, 李平, 李和平, 白红存, 郭庆杰. 宁东红石湾煤大分子模型构建及量子化学计算[J]. 化工学报, 2018, 69(5): 2208-2216. |
| [12] | 曹恒超, 郝木明, 李振涛, 杨文静, 汪艳红, 袁俊马. 基于相变效应的内压型螺旋槽液膜密封性能分析[J]. 化工学报, 2017, 68(9): 3532-3540. |
| [13] | 曹恒超, 郝木明, 李振涛, 杨文静, 孙震, 汪艳红, 任付军. 相变对螺旋槽液膜密封性能的影响[J]. 化工学报, 2017, 68(8): 3190-3201. |
| [14] | 金朝旭, 李双喜, 蔡纪宁, 张秋翔. 可调控型气膜润滑密封静压结构参数优化[J]. 化工学报, 2015, 66(4): 1425-1433. |
| [15] | 励行根, 沈明学, 王成林, 魏世军, 励洁, 彭旭东. 柔性石墨金属波纹复合增强垫片密封性能试验[J]. 化工学报, 2015, 66(4): 1417-1424. |
| 阅读次数 | ||||||
|
全文 |
|
|||||
|
摘要 |
|
|||||
京公网安备 11010102001995号