化工学报 ›› 2025, Vol. 76 ›› Issue (2): 835-845.DOI: 10.11949/0438-1157.20240711
• 能源和环境工程 • 上一篇
张泽雨1(
), 王平1,2(
), 戴凯论1, 钱伟佳1, Roy Subhajit1, 帅瑞洋1, Ferrante Antonio1,3
收稿日期:2024-06-25
修回日期:2024-08-21
出版日期:2025-03-25
发布日期:2025-03-10
通讯作者:
王平
作者简介:张泽雨(2000—),男,硕士研究生,zhangzy262625@163.com
基金资助:
Zeyu ZHANG1(
), Ping WANG1,2(
), Kailun DAI1, Weijia QIAN1, Subhajit Roy1, Ruiyang SHUAI1, Antonio Ferrante1,3
Received:2024-06-25
Revised:2024-08-21
Online:2025-03-25
Published:2025-03-10
Contact:
Ping WANG
摘要:
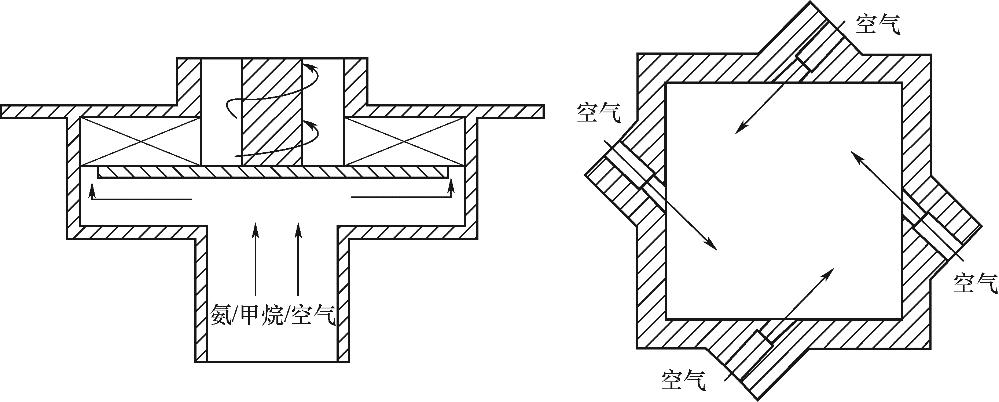
氨气燃烧面临着氮氧化物排放高、燃烧稳定性差等问题,而分级燃烧概念是解决上述问题的途径之一,但其中复杂的燃烧特性尚不明确。为此,对一个自主设计的轴向空气分级氨气-甲烷湍流燃烧装置开展了详细的实验测量和大涡模拟研究。以氨/甲烷的混合物为燃料,首级当量比保持为1.2,总当量比在0.4~0.9变化,通过实验测量获得一氧化氮(NO)随总当量比的变化特性,采用大涡模拟结合动态火焰增厚模型对3个燃烧状态进行计算分析,计算结果与实验数据吻合良好。研究表明:随着总当量比的减小,NO排放呈增加的趋势;燃烧室内存在两种燃烧模式,上游是金黄色的含氨燃气富燃预混火焰,下游则是淡蓝色的氢气-空气扩散火焰为主;一级燃烧室中,NO排放主要受OH影响,而二级燃烧室中NO生成受OH影响变小。
中图分类号:
张泽雨, 王平, 戴凯论, 钱伟佳, Roy Subhajit, 帅瑞洋, Ferrante Antonio. 轴向双级氨/甲烷湍流预混火焰燃烧特性及NO生成[J]. 化工学报, 2025, 76(2): 835-845.
Zeyu ZHANG, Ping WANG, Kailun DAI, Weijia QIAN, Subhajit Roy, Ruiyang SHUAI, Antonio Ferrante. Combustion characteristics and NO production of axially staged premixed NH3/CH4 turbulent swirling flames[J]. CIESC Journal, 2025, 76(2): 835-845.
| ϕprimary | ϕtotal | NH3质量流量/ (g/s) | CH4质量流量/ (g/s) | 一级空气质量流量/ (g/s) | 一级入口流速/ (m/s) | 二级空气质量 流量/(g/s) | 二级入口流速/(m/s) |
|---|---|---|---|---|---|---|---|
| 1.2 | 0.4 | 0.124 | 0.077 | 1.724 | 18.40 | 3.448 | 25.737 |
| 0.5 | 2.414 | 18.016 | |||||
| 0.6 | 1.724 | 12.868 | |||||
| 0.7 | 1.231 | 9.192 | |||||
| 0.8 | 0.862 | 6.434 | |||||
| 0.9 | 0.575 | 4.289 |
表1 实验相关状态参数
Table 1 The state parameters studied in the experiment
| ϕprimary | ϕtotal | NH3质量流量/ (g/s) | CH4质量流量/ (g/s) | 一级空气质量流量/ (g/s) | 一级入口流速/ (m/s) | 二级空气质量 流量/(g/s) | 二级入口流速/(m/s) |
|---|---|---|---|---|---|---|---|
| 1.2 | 0.4 | 0.124 | 0.077 | 1.724 | 18.40 | 3.448 | 25.737 |
| 0.5 | 2.414 | 18.016 | |||||
| 0.6 | 1.724 | 12.868 | |||||
| 0.7 | 1.231 | 9.192 | |||||
| 0.8 | 0.862 | 6.434 | |||||
| 0.9 | 0.575 | 4.289 |
图7 不同总当量比下火焰面及回流区(黑色实线代表回流区轮廓)
Fig.7 Flamelets and recirculation zones at different total equivalence ratios (the solid black line represents the shape of the recirculation zone)
图10 不同轴向位置处的轴向速度、温度、OH、NO和H2质量分数沿径向的平均值分布
Fig.10 Radial distribution of averaged axial velocity, temperature, mass fraction of OH, NO and H2 at different axial positions
| 1 | El-Adawy M, Nemitallah M A, Abdelhafez A. Towards sustainable hydrogen and ammonia internal combustion engines: challenges and opportunities[J]. Fuel, 2024, 364: 131090. |
| 2 | El-Hadary M I, Senthilraja S, Zayed M E. A hybrid system coupling spiral type solar photovoltaic thermal collector and electrocatalytic hydrogen production cell: experimental investigation and numerical modeling[J]. Process Safety and Environmental Protection, 2023, 170: 1101-1120. |
| 3 | Moriarty P, Honnery D. When will the hydrogen economy arrive?[J]. AIMS Energy, 2022, 10(6): 1100-1121. |
| 4 | Kang L W, Pan W G, Zhang J K, et al. A review on ammonia blends combustion for industrial applications[J]. Fuel, 2023, 332: 126150. |
| 5 | Pashchenko D. Ammonia fired gas turbines: recent advances and future perspectives[J]. Energy, 2024, 290: 130275. |
| 6 | 翟瑞, 杨昭, 张勇, 等. 可燃工质氨的燃烧及阻燃机理的研究[J]. 化工学报, 2021, 72(10): 5424-5429. |
| Zhai R, Yang Z, Zhang Y, et al. Study on combustion and flame retardant mechanism of combustible working fluid ammonia[J]. CIESC Journal, 2021, 72(10): 5424-5429. | |
| 7 | 王鲁丰, 钱鑫, 邓丽芳, 等. 氮气电化学合成氨催化剂研究进展[J]. 化工学报, 2019, 70(8): 2854-2863. |
| Wang L F, Qian X, Deng L F, et al. Recent progress on catalysts about electrochemical synthesis of ammonia from nitrogen[J]. CIESC Journal, 2019, 70(8): 2854-2863. | |
| 8 | Kobayashi H, Hayakawa A, Somarathne K D K A, et al. Science and technology of ammonia combustion[J]. Proceedings of the Combustion Institute, 2019, 37(1): 109-133. |
| 9 | Mashruk S, Kovaleva M, Alnasif A, et al. Nitrogen oxide emissions analyses in ammonia/hydrogen/air premixed swirling flames[J]. Energy, 2022, 260: 125183. |
| 10 | Wei D L, Fang H, Tang H J, et al. Experimental study of combustion instability and emission characteristics of ethanol/ammonia co-firing swirl flame[J]. Fuel, 2024, 362: 130786. |
| 11 | Kumuk O, Ilbas M. Comparative analysis of ammonia/hydrogen fuel blends combustion in a high swirl gas turbine combustor with different cooling angles[J]. International Journal of Hydrogen Energy, 2024, 52: 1404-1418. |
| 12 | An Z H, Zhang M, Zhang W J, et al. Emission prediction and analysis on CH4/NH3/air swirl flames with LES-FGM method[J]. Fuel, 2021, 304: 121370. |
| 13 | Dai L M, Gersen S, Glarborg P, et al. Autoignition studies of NH3/CH4 mixtures at high pressure[J]. Combustion and Flame, 2020, 218: 19-26. |
| 14 | Tian Z Y, Li Y Y, Zhang L D, et al. An experimental and kinetic modeling study of premixed NH3/CH4/O2/Air flames at low pressure[J]. Combustion and Flame, 2009, 156(7): 1413-1426. |
| 15 | Mao G P, Shi T C, Mao C L, et al. Prediction of NO x emission from two-stage combustion of NH3–H2 mixtures under various conditions using artificial neural networks[J]. International Journal of Hydrogen Energy, 2024, 49: 1414-1424. |
| 16 | Zhang Y, Xiao S S, Lu Q B, et al. Numerical study on non-premixed combustion characteristics of NH3/O2 in multi-inlet micro combustor[J]. Applied Thermal Engineering, 2023, 224: 120091. |
| 17 | Wang B B, Wang H C, Duan B Y, et al. Effect of ammonia/hydrogen mixture ratio on engine combustion and emission performance at different inlet temperatures[J]. Energy, 2023, 272: 127110. |
| 18 | Zhang M, An Z H, Wei X T, et al. Emission analysis of the CH4/NH3/air co-firing fuels in a model combustor[J]. Fuel, 2021, 291: 120135. |
| 19 | Hayakawa A, Arakawa Y, Mimoto R, et al. Experimental investigation of stabilization and emission characteristics of ammonia/air premixed flames in a swirl combustor[J]. International Journal of Hydrogen Energy, 2017, 42(19): 14010-14018. |
| 20 | Ditaranto M, Saanum I. Experimental study on the effect of pressure on single and two stage combustion of decomposed ammonia (NH3 H2 N2) blends over a swirl stabilized burner[J]. Combustion and Flame, 2024, 262: 113368. |
| 21 | Wang P, Liu W F, Qian W J, et al. Investigation of no emission characteristic of ammonia-hydrogen flame in a two-stage model combustor[J]. Thermal Science, 2024, 28(2): 1689-1699. |
| 22 | Liu C Y, Gao C H, Huang Y, et al. Experimental and numerical study of combustion characteristics of ammonia-hydrogen-air swirling flame with/without secondary air injection[J]. Chinese Journal of Aeronautics, 2024, 37(4): 243-255. |
| 23 | Somarathne K D K A, Okafor E C, Hayakawa A, et al. Emission characteristics of turbulent non-premixed ammonia/air and methane/air swirl flames through a rich-lean combustor under various wall thermal boundary conditions at high pressure[J]. Combustion and Flame, 2019, 210: 247-261. |
| 24 | Okafor E C, Somarathne K D K A, Ratthanan R, et al. Control of NO x and other emissions in micro gas turbine combustors fuelled with mixtures of methane and ammonia[J]. Combustion and Flame, 2020, 211: 406-416. |
| 25 | Li Z X, Li S H. Effects of inter-stage mixing on the NO x emission of staged ammonia combustion[J]. International Journal of Hydrogen Energy, 2022, 47(16): 9791-9799. |
| 26 | Honzawa T, Kai R, Okada A, et al. Predictions of NO and CO emissions in ammonia/methane/air combustion by LES using a non-adiabatic flamelet generated manifold[J]. Energy, 2019, 186: 115771. |
| 27 | Huang S H, Li Q S. A new dynamic one-equation subgrid-scale model for large eddy simulations[J]. International Journal for Numerical Methods in Engineering, 2010, 81(7): 835-865. |
| 28 | Butler T D, O'Rourke P J. A numerical method for two dimensional unsteady reacting flows[J]. Symposium (International) on Combustion, 1977, 16(1): 1503-1515. |
| 29 | Colin O, Ducros F, Veynante D, et al. A thickened flame model for large eddy simulations of turbulent premixed combustion[J]. 2000, 12(7): 1843-1863. |
| 30 | Wang P, Fröhlich J, Maas U, et al. A detailed comparison of two sub-grid scale combustion models via large eddy simulation of the PRECCINSTA gas turbine model combustor[J]. Combustion and Flame, 2016, 164: 329-345. |
| 31 | 毛晨林, 王平, Shrotriya Prashant, 等. 含氨燃料预混火焰的层流火焰速度及NO排放特性[J]. 化工学报, 2021, 72(10): 5330-5343. |
| Mao C L, Wang P, Shrotriya P, et al. Laminar flame speed and NO emission characteristics of premixed flames with different ammonia-containing fuels[J]. CIESC Journal, 2021, 72(10): 5330-5343. | |
| 32 | Okafor E C, Naito Y, Colson S, et al. Experimental and numerical study of the laminar burning velocity of CH4-NH3-air premixed flames[J]. Combustion and Flame, 2018, 187: 185-198. |
| 33 | Shrotriya P, Wang P, Zeng H X, et al. Large eddy simulation of partially premixed flames with inhomogeneous inlets based on the DTF combustion model[J]. Aerospace Science and Technology, 2023, 139: 108400. |
| 34 | 王永倩, 王平, 程康, 等. 氨气/甲烷贫预混旋转湍流火焰稳定性及NO生成[J]. 化工学报, 2022, 73(9): 4087-4094. |
| Wang Y Q, Wang P, Cheng K, et al. Stability and NO production of lean premixed ammonia/methane turbulent swirling flame[J]. CIESC Journal, 2022, 73(9): 4087-4094. | |
| 35 | Somarathne K D K A, Okafor E C, Sugawara D, et al. Effects of OH concentration and temperature on NO emission characteristics of turbulent non-premixed CH4/NH3/air flames in a two-stage gas turbine like combustor at high pressure[J]. Proceedings of the Combustion Institute, 2021, 38(4): 5163-5170. |
| [1] | 姚佳逸, 张东辉, 唐忠利, 李文彬. 基于二级双回流的变压吸附捕碳工艺研究[J]. 化工学报, 2025, 76(2): 744-754. |
| [2] | 何传超, 周静红, 曹约强, 施尧, 周兴贵. Ag/SiO2催化草酸酯加氢制乙醇酸甲酯的床层-颗粒双尺度耦合模拟研究[J]. 化工学报, 2025, 76(2): 654-666. |
| [3] | 李舒月, 王欢, 周少强, 毛志宏, 张永民, 王军武, 吴秀花. 重质颗粒流态化研究现状与展望[J]. 化工学报, 2025, 76(2): 466-483. |
| [4] | 贾晶宇, 孔德齐, 沈圆辉, 张东辉, 李文彬, 唐忠利. 合成氨反应器尾气变压吸附氨分离工艺的模拟与分析[J]. 化工学报, 2025, 76(2): 718-730. |
| [5] | 张珂, 任维杰, 王梦娜, 范凯锋, 常丽萍, 李佳斌, 马涛, 田晋平. Bunsen反应产物在微通道中的液-液两相混合特性[J]. 化工学报, 2025, 76(2): 623-636. |
| [6] | 王瀚彬, 胡帅, 毕丰雷, 李隽森, 贺来宾. 新型波纹翅片金属氢化物反应器的放氢性能有限元分析[J]. 化工学报, 2025, 76(1): 221-230. |
| [7] | 高羡明, 杨汶轩, 卢少辉, 任晓松, 卢方财. 双槽道结构对超疏水表面液滴合并弹跳的影响[J]. 化工学报, 2025, 76(1): 208-220. |
| [8] | 韩启沃, 刘永峰, 裴普成, 张璐, 姚圣卓. 工作温度对PEMFC水分布、质子传输及性能影响分析[J]. 化工学报, 2025, 76(1): 374-384. |
| [9] | 邓志诚, 杨欢, 王斯民, 王家瑞. 微混燃烧器中微管结构对氢燃料掺混效果与燃烧性能影响[J]. 化工学报, 2025, 76(1): 335-347. |
| [10] | 刘萍, 邱雨生, 李世婧, 孙瑞奇, 申晨. 微通道内纳米流体传热流动特性[J]. 化工学报, 2025, 76(1): 184-197. |
| [11] | 韩志敏, 周相宇, 张宏宇, 徐志明. 不同粗糙元结构下CaCO3污垢局部沉积特性[J]. 化工学报, 2025, 76(1): 151-160. |
| [12] | 董新宇, 边龙飞, 杨怡怡, 张宇轩, 刘璐, 王腾. 冷却条件下倾斜上升管S-CO2流动与传热特性研究[J]. 化工学报, 2024, 75(S1): 195-205. |
| [13] | 郭骐瑞, 任丽媛, 陈康, 黄翔宇, 马卫华, 肖乐勤, 周伟良. 用于HTPB推进剂浆料的静态混合管数值模拟[J]. 化工学报, 2024, 75(S1): 206-216. |
| [14] | 李匡奚, 于佩潜, 王江云, 魏浩然, 郑志刚, 冯留海. 微气泡旋流气浮装置内流动分析与结构优化[J]. 化工学报, 2024, 75(S1): 223-234. |
| [15] | 汪张洲, 唐天琪, 夏嘉俊, 何玉荣. 基于复合相变材料的电池热管理性能模拟[J]. 化工学报, 2024, 75(S1): 329-338. |
| 阅读次数 | ||||||
|
全文 |
|
|||||
|
摘要 |
|
|||||
京公网安备 11010102001995号